LISTA ZUM / ID. URZĄDZENIA
PELL DUO+ 10kW / KB-300552
PELL DUO+ 14 kW / KB-100553
PELL DUO+ 18 kW / KB-600555
PELL DUO+ 22 kW / KB-400555
PELL DUO+ 28 kW / KB-200557
Kotły typu Pell-Duo+ przeznaczone są do wodnych instalacji centralnego ogrzewania systemu otwartego, z grawitacyjnym jak i wymuszonym obiegiem wody. Instalacja musi być zabezpieczona zgodnie z obecnie obowiązującymi, szczegółowymi przepisami krajowymi. Stalowe kotły grzewcze typu Pell-Duo+ z automatycznym układem podawania paliwa są przeznaczone do pracy w instalacjach centralnego ogrzewania i przygotowania ciepłej wody użytkowej w obiektach budownictwa mieszkaniowego tj. domach jednorodzinnych, pawilonach handlowych, garażach, budynkach gospodarczych. Pell-Duo+ to kompaktowe kotły na pellet z automatycznym rozpalaniem i wygaszaniem. Wyposażone zostały w samoczyszczący palnik ze stali żaroodpornej. W pionowym wymienniku zastosowano innowacyjne rozwiązanie a mianowicie popielnik wyczystny, który spełnia rolę izolatora spodu kotła, co znacząco podnosi sprawność cieplną kotłów. Sterownik kotłów to urządzenie wykonane w zaawansowanej technologii, przystosowane do obsługi energooszczędnych pomp elektronicznych. Sterownik obsługuje pompy: c.o., c.w.u. oraz siłownik zaworu. Możliwość podłączenia regulatora pokojowego oraz modułu SafeIT (sterowanie przez Internet).
PELL-DUO+ spełnia kryteria programu Czyste Powietrze jako kocioł na pellet drzewny o podwyższonym standardzie.
Wysoka sprawność
Automatyczny podajnik
Ekologiczne spalanie
Solidna konstrukcja
• Automatyczne podwanie paliwa
• Długi obieg spalin
• Nowoczesny sterownik kotła obsługuje 2 pompy
• Nowoczesny sterownik obsługujący zawór trój- lub czterodrogowy
• Wysoka sprawność cieplna
• Bezdymne ekologiczne spalanie
• Sterownik elektroniczny
• Wentylator nadmuchowy
• Podajnik pelletowy
• Zapalarka lub grzałka
• Moduł internetowy
• Termostat pokojowy
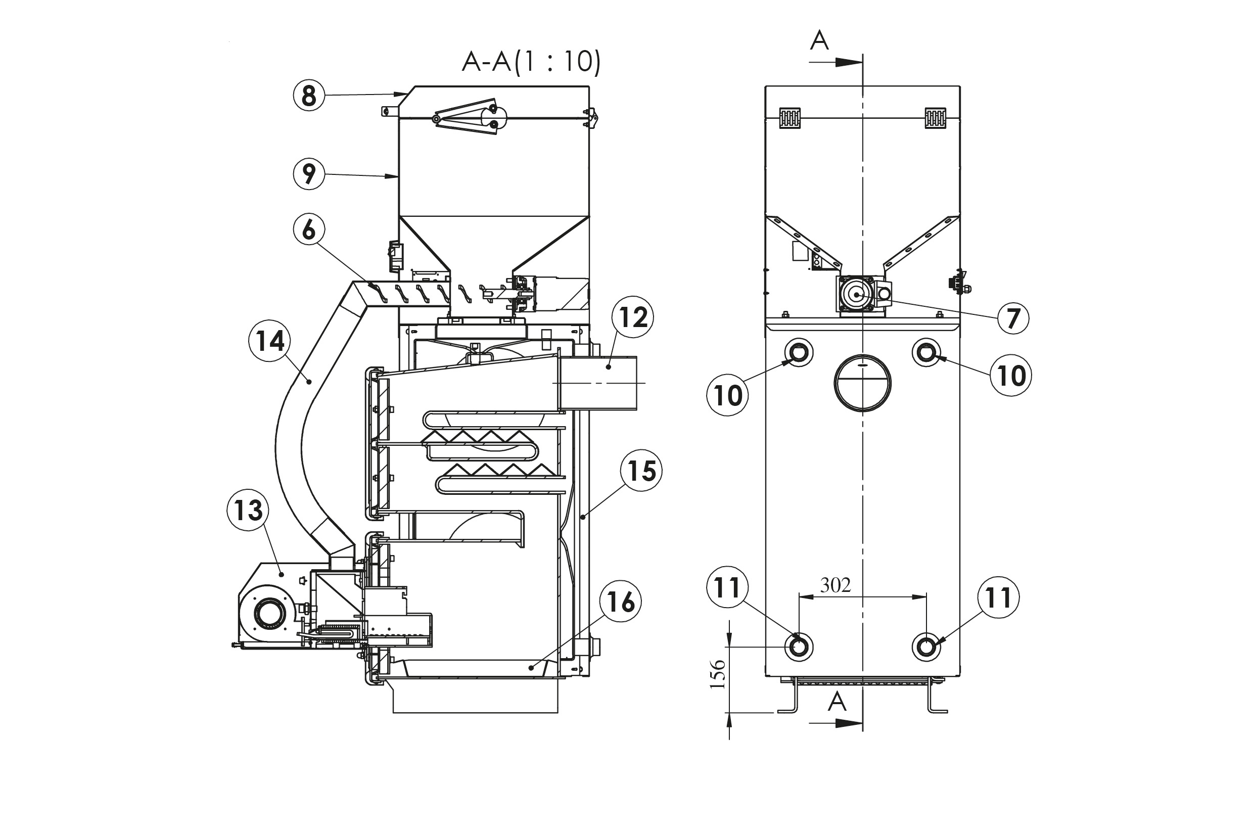
9. Zasobnik paliwa
10. Mufa zasilania
11. Mufa powrotu/spustowa
12. Czopuch
13. Palnik pelletowy
14. Rura zsypowa elastyczna
15. Izolacja cieplna kotła
16. Szuflada na popiól
17. Włącznik STB
9. Zasobnik paliwa
10. Mufa zasilania
11. Mufa powrotu/spustowa
12. Czopuch
13. Palnik pelletowy
14. Rura elastyczna podawcza
15. Izolacja cieplna kotła
16. Szuflada na popiól
17. Włącznik STB
| L.p. | Dane dla PELL-DUO 10kW | J.m. | Dane | ||
| 1 | Typ kotła | 10kW | |||
| 2 | Wymagana pojemność zasobnika ciepła Qmin>0,3QN | L | 200 | ||
| 3 | Maksymalna temperatura wody | °C | 85 | ||
| 4 | Wielkość powierzchni grzewczej* | m2 | do 100 | ||
| 5 | Pojemność wodna kotła | l | 40 | ||
| 6 | Średnica czopucha | mm | 127 | ||
| 7 | Klasa kotła wg PN-EN 303-5: 2012 | 5 | |||
| 8 | Pojemność komory zasobnika – zbiornik u góry | kg | 50 | ||
| 9 | Pojemność komory zasobnika – zbiornik z boku | kg | 140 | ||
| 10 | Stałopalność przy mocy nom/min – zbiornik u góry | h | 12 / 43 | ||
| 11 | Stałopalność przy mocy nom/min – zbiornik z boku | h | 42 / 150 | ||
| 12 | Min robocza temperatura (powrotu) | °C | 50 | ||
| 13 | Temperatura spalin | moc nominalna | °C | 130 | |
| moc minimalna | °C | 80 | |||
| 14 | Maksymalne dop. ciśnienie robocze | bar2 | |||
| 15 | Strumień masy spalin moc nom./min. | g/s | 7,32 / 3,18 | ||
| 16 | Ciśnienie próbne | bar | 3 | ||
| 17 | Powierzchnia wymiennika | m2 | 80 | ||
| 18 | Przekrój otworu kominowego min. | cm2 | 170 | ||
| 19 | Minimalna wysokość komina | m | 6 | ||
| 20 | Masa kotła (±5%) | kg | 193 | ||
| 21 | Wymagany ciąg spalin | Pa | 20 | ||
| 22 | Średnica króćca zasilania i powrotu | G | 1″ | ||
| 2 | Średnica króćca spustowego | G | 1″ | ||
| 24 | Zasilanie | V/Hz/A | 230 / 50 / 0,5–3,15 | ||
| 25 | Pobór mocy | rozpalanie | W | ≥ 356 | |
| praca | W | ≥ 56 | |||
| 26 | Emisja hałasu | dB | >60 | ||
| 25 | Opory przepływu | Δt=10K | mbar | 1,5 | |
| Δt=10k | mbar | 0,6 | |||
| 26 | Rodzaj podawania paliwa | Automatyczny | |||
| 26 | Nominalna moc cieplna | kW | 10 | ||
| 26 | Zakres wydajności cieplnych | kW | 3-10 | ||
| 26 | Powierzchnia grzewcza kotła | m2 | 1,47 | ||
| 26 | Sprawność | % | 89,9 | ||
| 26 | Temp. wody na zasilaniu min./max | °C | 55/80 | ||
| 26 | Minimalna temperatura wody kotłowej | °C | 10 | ||
| 31 | Wymiary | – zbiornik u góry | – zbiornik z boku | ||
| Szerokość kotła | mm | 460 | 460 | ||
| Wysokość kotła | mm | 1485 | 1200 | ||
| Głębokość kotła | mm | 527 | 1073 | ||
| Głębokość zestawu | mm | 943 | 938 | ||
| L.p. | Wyszczególnienie | J.m. | Dane | ||||
| 1 | Typ kotła | Pell-duo + 14kW | Pell-duo + 18kW | Pell-duo + 22kW | Pell-duo + 28kW | ||
| 2 | Wymagana pojemność zasobnika ciepła Qmin>0,3QN | L | 280 | 360 | 440 | 560 | |
| 3 | Maksymalna temperatura wody | °C | 85 | 85 | 85 | 85 | |
| 4 | Wielkość powierzchni grzewczej* | m2 | do 140 | do 180 | do 220 | do 280 | |
| 5 | Pojemność wodna kotła | l | 58 | 71 | 78 | 86 | |
| 6 | Średnica czopucha | mm | Ø128 | Ø158 | Ø158 | Ø178 | |
| 7 | Klasa kotła wg PN-EN 303-5: 2012 | 5 | |||||
| 8 | Sprawność cieplna | % | 91,6 | 91 | 90,8 | 90,8 | |
| 9 | Pojemność komory zasobnika | l | 140 | 140 | 170 | 200 | |
| 10 | Stałopalność przy mocy nominalnej | h | 27/92 | 21/73 | 20/72 | 19/66 | |
| 11 | Max. robocza temperatura (zasilania) | °C | 80 | ||||
| 12 | Min robocza temperatura (powrotu) | °C | 55 | ||||
| 13 | Temperatura spalin | moc nominalna | °C | 112 | 103 | 127 | 144 |
| moc minimalna | °C | 72 | 73 | 97 | 115 | ||
| 14 | Maksymalne dop. ciśnienie robocze | bar | 2 | ||||
| 15 | Strumień masy spalin moc nom./min. | g/s | 9,8 / 3,8 | 13,3 / 4,9 | 15,2 / 5,9 | 18 / 8 | |
| 16 | Ciśnienie próbne | bar | 3 | ||||
| 17 | Powierzchnia wymiennika | m2 | 2 | 2,5 | 2,8 | 3,3 | |
| 18 | Przekrój otworu kominowego min. | cm2 | 171 | 190 | 215 | 273 | |
| 19 | Minimalna wysokość komina | m | 6 | 6 | 7 | 7 | |
| 20 | Masa kotła (±5%) | kg | 247 | 308 | 325 | 348 | |
| 21 | Wymagany ciąg spalin | mbar | 0,23 | 0,25 | 0,27 | 0,29 | |
| 22 | Średnica króćca zasilania i powrotu | G | 1 1/2″ | ||||
| 23 | Średnica króćca spustowego | G | 1/2″ | ||||
| 24 | Zasilanie | V/Hz/A | 230 / 50 / 0,5–3,15 | ||||
| 25 | Pobór mocy | rozpalanie | W | ≥ 356 | |||
| praca | W | ≥ 56 | |||||
| 26 | Emisja hałasu | dB | >60 | ||||
| 31 | Wymiary | A | mm | 774 | 774 | 774 | 774 |
| B | mm | 1170 | 1170 | 1170 | 1170 | ||
| C | mm | 202 | 202 | 202 | 202 | ||
| D | mm | 895 | 1068 | 1162 | 1262 | ||
| E | mm | 636 | 779 | 873 | 953 | ||
| L | mm | 1038 | 1038 | 1132 | 1232 | ||
| G | mm | 925 | 925 | 925 | 925 | ||
| H | mm | 1197 | 1198 | 1242 | 1342 | ||
| K | mm | 460 | 460 | 460 | 460 | ||
| J | mm | 130 | 130 | 130 | 130 | ||